0грн.
Зробити замовлення- Виробник: Україна
- Код товару: МП-101
- Артикул: 401008
- Наявність: В наявності
Електромагніти серії МП (МП 101, МП 201, МП 301) призначені для дистанційного електроприводу кранових механізмів з пружинними колодочными гальмами серії ТК. Електромагніти МП можуть бути також використані для приводу різних виконавчих механізмів. Рекомендується для заміни електромагнітів серій МП, МПТ. Випускаються з котушками паралельного і послідовного збудження.
Умови експлуатації:
- температура навколишнього середовища — від – 40 °С до +50 °С;
- вид кліматичного виконання електромагнітів — Т2, УХЛ категорії розміщення 2 по ГОСТ 15150-69;
- висота над рівнем моря – до 2000 м;
- навколишнє середовище не вибухонебезпечне, не містить струмопровідного пилу, іонізованих газів або солей, які при гігроскопічної абсорбції або конденсації вологи, що знаходиться в повітрі, можуть викликати зниження електричної міцності ізоляції, атмосфера типу ІІ по ГОСТ 15150-69;
- ступінь захисту оболонки IP 44, ip54 по ГОСТ 14254-80;
- номінальні значення механічних зовнішніх впливаючих факторів — по ГОСТ 17516.1 для групи механічного виконання МОЗ.
Склад, будова і робота:
Електромагніти МП є складовою частиною гальм типу ТКП і складаються з: магнітопровода з фланцями, котушки збудження, якоря.
Задня кришка електромагніту має спеціальні оглядові вікна, через які виставляється і контролюється робочий хід. Робочий хід визначається зазором між упорним фланцем і корпусом магніту і встановлюється згідно з його технічними характеристиками допомогою переміщення штока гальмівного всередину електромагніту.
При подачі напруги, по обмотці котушки збудження протікає струм, що створює магнітний потік, під впливом якого, якір притягається до фланця і через тягу, сочлененную з якорем, відбувається переміщення виконавчого механізму, який стискає головну пружину гальма. Колодки, звільнившись від дії пружини, розходяться. Відбувається розгальмовування шківа.
При відключенні електромагніту від живильної мережі важільна система під дією пружини повертає якір в початкове положення.
Структура умовного позначення електромагнітів МП:
| МП | Позначення серії електромагніту |
| 101, 201, 301 | Умовне позначення номеру серії |
| 1, 2 | Тип порушення: 1-паралельне; 2-послідовне |
| 1 | Рід струму живлячої мережі: 1-постійний |
| 1,2,3,4 | Режим роботи: 1-ПВ100%, 2-ПВ40%, 3-ПВ25%, 4-ПВ15% |
| 1 | Траєкторія руху якоря: 1-прямоходовой |
| 2 | Спосіб впливу на механізм: 2-штовхаючі |
| 1,2 | Виконання токоподвода: 1-гнучкі висновки; 2-клемний з'єднувач |
| 20,54 | Ступінь захисту за ГОСТ 14255: 20-IP20; 54-IP54 |
| У2; УХЛ2 | Кліматичне виконання за ГОСТ 15150 |
Приклад запису умовного позначення електромагнітів паралельного збудження: рід струму живильної мережі – постійний, напруга живлення – 220В, режим роботи – повторно-короткочасний при ПВ=40%, прямоходовые, що штовхають з гнучкими висновками, ступінь захисту – ІР20 по ГОСТ 14255, кліматичного виконання УХЛ2 за ГОСТ 15150:
Електромагніти МП з котушками паралельного збудження
Характеристика | МП101-1 | МП201-1 | МП301-1 | ||||||
| Тривалість включення | 25% | 40% | 100% | 25% | 40% | 100% | 25% | 40% | 100% |
| Номінальне тягове зусилля, Н | 290 | 250 | 96 | 950 | 780 | 320 | 2000 | 1650 | 700 |
| Номінальний хід якоря, мм | 3 | 4 | 4,5 | ||||||
| Час спрацьовування, З | 0,1 | 0,15 | 0,25 | 0,2 | 0,25 | 0,35 | 0,35 | 0,55 | 0,65 |
| Часом повернення, З | 0,1 | 0,16 | 0,23 | ||||||
| Номінальна частота включень, вкл./год | 1500 | 2500 | Чотири тисячі | 1200 | 1800 | 3000 | 650 | 1000 | 2000 |
| Номінальна споживана потужність, Вт | 50 | 130 | 180 | 75 | 180 | 260 | 100 | 260 | 400 |
| Маса електромагніту не більше, кг | 4,7 | 11,6 | 20,5 | ||||||
1) Номінальне тягове зусилля електромагнітів гарантується при напрузі не нижче 85% номінальної величини.
!!! На вимогу замовника електромагніти МП можуть випускатися з Г-подібним роз'ємом
Електромагніти МП з котушками послідовного збудження
Характеристика | МП201-2 | МП301-2 | ||||
| Тривалість включення | 15% | 25% | 40% | 15% | 25% | 40% |
| Номінальне тягове зусилля, Н60% номінального струмупри 40% номінального струму | 120 60 | 90 45 | 60 30 | 500 1700 | 2000 1350 | 1650 1050 |
| Номінальний хід якоря, мм | 4 | 4,5 | ||||
| Номінальна споживана потужність, Вт | 370 | 285 | 225 | 635 | 490 | 390 |
| Маса електромагніту не більше, кг | 19,8 | 34 | ||||
2) Номінальна робоча напруга електромагнітів серії МП – 110В, 220В, 440В постійного струму або 220В та 380В змінного струму, частота 50 Гц.
Тип електромагніту | Номінальний струм, А | Потужність, Вт | ||
15% | 25% | 40% | ||
МП201-2 | 16,8 25,8 41,3 64,5 | 13 20 32 50 | 10,3 15,8 25,3 39,5 | 285 |
МП301-2 | 53,6 67 84 105 126 153,3 210,5 251 292 | 41,5 52 65 81,5 97,5 119 163 194,5 226 | 32,8 41 51,4 64,4 77 94 129 153,5 179 | 490 |
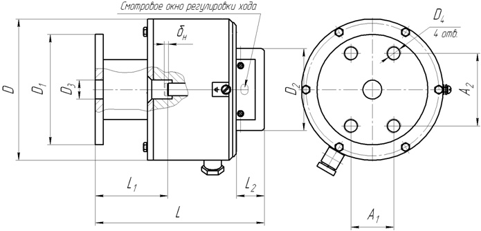
Габаритні, настановні та приєднувальні розміри електромагнітів серії МП

Габаритне креслення МП-201-1 Габаритний креслення МП-301-1

Габаритне креслення МП-201-2 Габаритний креслення МП-301-2
Тип електромагніту | Розміри, мм | |||||||||
δн | A1 | A2 | D | D1 | D2 | D3 | L | L1 | L2 | |
МП – 101 – 1 | 3 | 30 | 44 | 88 | 88 | 88 | 88 | Сто сорок п'ять | 52 | 34 |
МП – 201 – 1 | 4 | 38 | 80 | 134 | 110 | 108 | 126 | 180 | 60 | 34 |
МП – 301 – 1 | 4,5 | 54 | 92 | 178 | 140 | 108 | 120 | 210 | 90 | 34 |
МП – 201 – 2 | 4 | 38 | 80 | 178 | 110 | 108 | 174 | 207 | 60 | 34 |
МП – 301 – 2 | 4,5 | 54 | 92 | 208 | 140 | 108 | 208 | 258 | 90 | 34 |
Відгуків про цей товар ще не було.