0грн.
Оформить заказ- Производитель: Україна
- Модель: МОЭ-3А ОЦ
- Артикул: 10283
- Наличие: Есть в наличии
Мостик откидной эстакадный МОЭ-3А , 4А, 5А (в дальнейшем мостик) предназначен для перехода обслуживающего персонала с настила сливо-наливной железнодорожной эстакады на вагон-цистерну любого типа и обратно. Стандартное покрытие - грунтовка. Оцинковка - по согласованию.
Мостик устанавливают на железнодорожных эстакадах, распределительных и перевалочных нефтебазах, нефтеперерабатывающих заводах и других объектах связанных с транспортировкой нефтепродуктов и различных жидкостей.
По устойчивости к воздействию климатических факторов внешней среды мостик соответствует исполнению У категории 1 по ГОСТ 15150.
Технические характеристики:
|
Наименование параметра |
Значение |
||||
|
Обозначение мостика |
МОЭ-3А |
МОЭ-4А |
МОЭ-5А |
||
|
Длина, мм |
~1275 |
~1785 |
~2300 |
||
|
Ширина, мм |
1274 |
1274 |
1274 |
||
|
Высота перил, мм |
~1010 |
~1010 |
~1010 |
||
|
Высота в гаражном положении, мм |
~2410 |
~2410 |
~2920 |
||
|
Количество ступеней, шт |
3 |
4 |
5 |
||
|
Нагрузка на мостик, кг, не более |
150 |
150 |
150 |
||
|
Момент поворота мостика, Н·м, не более |
300
|
||||
|
Масса, кг, не более |
160 |
185,0 |
197,0 |
||
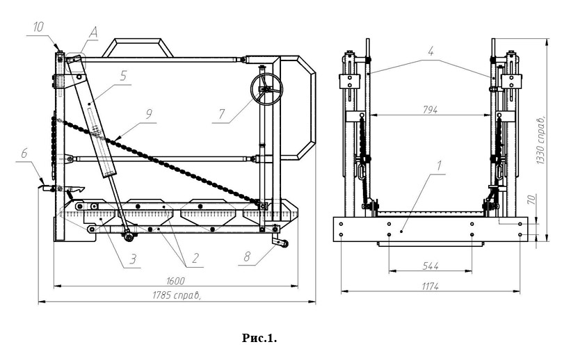
Технические характеристики, габаритные (для справок) и монтажные размеры мостика приведены в таблице 1 и на рис. 1. Общий вид мостика приведен на рис. 2.

1-основание; 2-направляющие; 3-ступенька; 4-поручень; 5-амортизатор; 6-стопор; 7-фиксатор; 8-упор; 9-цепь; 10-болт регулировочный.

Нет отзывов о данном товаре.