0грн.
Оформить заказ- Производитель: Україна
- Модель: Г42-12Ф УХЛ4
- Артикул: 035361
- Наличие: Есть в наличии
Фильтр Г42-12Ф заливной предназначен для очистки масла заливаемого в резервуар смазочной системы (например станций смазочных С48-11М, С48-12М, С48-13М, С48-14М) от посторонних примесей, а также для очистки циркулирующего в пространстве над уровнем рабочей жидкости воздуха от частичек пыли.
Заливной фильтр Г42-12Ф очищает масла, с вязкостью не более 150 сСт и температурой от +10 до +70 °С.
Климатическое исполнение и категория размещения по ГОСТ 15150:
- для районов с умеренным и холодным климатом УХЛ 4;
- для районов с тропическим климатом О4.1.
Фильтр Г42-12Ф заливной устанавливается в вертикальное положение на крышке маслобака и состоит из корпуса, с запрессованной в него сеточкой для фильтрации масла, пластмассовой крышки с горловиной для заливки рабочей жидкости. Магнитный патрон, установленный внутри фильтра Г42-12Ф предназначен для задерживания ферромагнитных частиц, содержащихся в заливаемом масле.
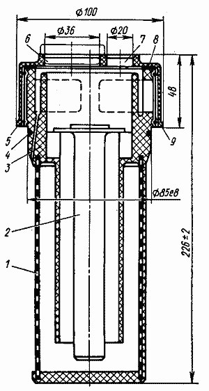
Принцип работы, основные параметры и условное обозначение фильтра заливного Г42-12Ф

Фильтр заливной Г42-12Ф (чертёж слева) состоит из пластмассового корпуса 3 со встроенной в него сеточкой 1, крышки корпуса 5, крепящейся к корпусу с помощью шпилек (на чертеже слева они не показаны), прокладки 8, фильтр-полотна 9, сапуна и магнитного сепаратора 2.
Отверстие 6 в крышке корупса фильтра Г42-12Ф используется для заливки рабочей жидкости и в процессе эксплуатации гидропривода закрыта пробкой, а через сливное отверстие 7 проходит шланг сливной линии, поэтому фильтр Г42-12Ф работает также и в качестве сливного.
Фильтр заливной Г42-12Ф ставится в специальное отверстие крышки маслобака, при этом уплотнение его посадочного места обеспечивается резиновой прокладкой (кольцом 4).
| Наименование параметра | Значение |
| Номинальная тонкость фильтрации, мкм | 125 |
| Номинальная тонкость очистки воздушного фильтра, мм | 40 |
| Номинальный расход при перепаде давлений 0,001МПа - для масла не менее, л/мин - для воздуха не менее, дм3/с |
20 0,4 |
| Номинальный перепад давлений не более (для масла и воздуха), МПа | 0,001 |
| Масса не более, кг | 0,49 |
Пример условного обозначения фильтра заливного Г42-12Ф с номинальной тонкостью фильтрации не грубее 125 мкм, с номинальной тонкостью очистки воздушного фильтра 40 мкм, с номинальным расходом масла 20 л/мин, для районов с умернным и холодным климатом, категория размещения 4:
- фильтр заливной Г42-12Ф УХЛ4 ТУ2-053-1294-77.
То же, но для районов с тропическим климатом:
- фильтр Г42-12Ф О4.1 ТУ2-053-1294-77.
Нет отзывов о данном товаре.